
The landscape of automotive intellectual property is shifting toward high-tech personalization that merges physical hardware with digital adaptability. Recently, a significant patent filing by the German manufacturer Porsche has surfaced, detailing a revolutionary way to manipulate vehicle aesthetics. This innovation focuses on a Porsche color-changing film patent that allows a car to modify its exterior graphics through electronic signals. By moving away from permanent paint and adhesive decals, the brand is looking to offer a vehicle that can change its identity based on the environment or the preferences of the owner.
Technical Specifications Found in the Porsche Color Changing Film Patent
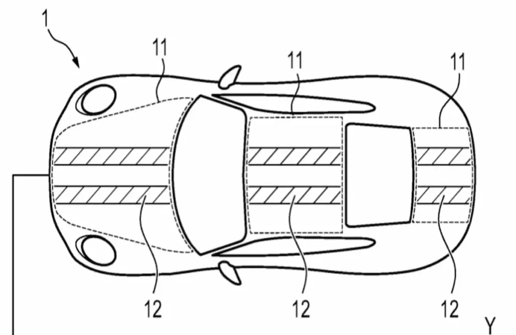
The mechanics behind the Porsche color-changing film patent involve the integration of an active layer applied over the vehicle body panels. This layer utilizes electrophoretic technology, which is a process where microscopic particles suspended in a fluid react to electrical charges. When a specific voltage is applied to the surface, these particles rearrange themselves to either absorb or reflect light in different ways. The result is a surface that can transition from a standard solid color to a predefined pattern, such as the iconic rally stripes associated with the brand’s racing heritage.
According to the legal descriptions within the Porsche color-changing film patent, this system is designed to be durable enough for high-speed travel and varying weather conditions. The filing suggests that the film can be applied to specific areas of the car, including the front hood, the roof, and the rear luggage compartment lid. This localized Patent application ensures that the color-changing effect is precise and does not interfere with the structural integrity or the aerodynamic properties of the vehicle exterior.
Functional Integration and the Porsche Color Changing Patent Utility
The utility of this invention extends beyond simple decoration. The Porsche color-changing patent describes a method where the visual state of the car is linked directly to the onboard computer systems. Instead of a static look, the vehicle can display different visual signatures depending on the selected drive mode. This means that a car could appear understated during a standard commute but instantly reveal vibrant patterns when the driver engages a high-performance setting.
Under the framework of the Porsche color-changing patent, the transition is triggered by the vehicle control unit. This creates a communicative relationship between the machine and the observer. For example, the patent indicates that the film could react to the velocity of the car or even the temperature of the engine components. This level of integration proves that the Porsche color-changing patent is not just a cosmetic upgrade but a sophisticated extension of the vehicle’s user interface, providing a visual representation of the car’s internal status to the outside world.
Read Also: Prince Estate and Apollonia Settle ‘Purple Rain’ Trademark Dispute Settlement

Practical Applications within the Porsche Racing Stripe Patent Framework
The specific design of the graphics is a major focus of the Porsche Racing Stripe Patent. The documentation highlights that “racing stripes” are a key element of the brand identity, and the ability to make them appear or disappear is a primary goal. This Porsche Racing Stripe Patent allows for a versatile ownership experience where a driver can choose to have a “stealth” look for professional environments and a “racing” look for the track. The stripes can be programmed to appear in various colors, providing a level of customization that was previously impossible without a full car wrap or a new paint job.
Furthermore, the Porsche Racing Stripe Patent explores safety and informative uses for this technology. The stripes could potentially pulse or change color to alert other drivers of sudden braking or indicate that the car is in an autonomous driving mode. This practical application of the Porsche Racing Stripe Patent ensures that the technology serves a functional role in road safety. By using the exterior of the car as a display, Porsche is turning the vehicle body into a tool for communication, making the stripes a vital part of the car’s safety ecosystem.
Read Also: First Movement in Months: Donald Trump Files Trademark for Trump Mobile Plan
Strategic Importance of the Patent Filing for Intellectual Property
Securing this Patent Filing is a strategic move for Porsche to maintain its lead in the luxury sports car market. The Patent protection for “smart skins” is becoming a competitive battlefield for premium automakers. By submitting this Patent Filing, Porsche ensures that its specific method of using electrophoretic films for geometric patterns is protected from competitors. This legal protection is essential for the future commercialization of the technology, likely through exclusive customization programs that allow buyers to design their own digital liveries.
The language used in the Patent Filing is broad enough to cover various types of adaptable coatings, ensuring that Porsche has the freedom to evolve the technology as material science improves. This proactive approach to IPR allows the company to experiment with different visual effects while keeping the core innovation exclusive to their lineup. As the industry moves toward electric and software-defined vehicles, the ability to protect such unique visual features becomes a major asset for brand differentiation.
Final Observations on the Porsche Color-Changing Patent Development
In conclusion, the Porsche color-changing patent represents a bold step toward the future of automotive styling. It combines the traditional appeal of performance aesthetics with the modern demand for digital flexibility. Through the Porsche color-changing film patent, the manufacturer is providing a solution for drivers who want their vehicle to reflect their changing moods and driving styles. The Porsche Racing Stripe Patent ensures that the heritage of the brand is preserved even as the technology moves into a futuristic realm. As this technology moves from a legal document to a production reality, it will likely change how we perceive vehicle customization forever.